原創聲明
本站所有案例均為推來客網絡定制開發設計
任何個人,公司不得擅自盜用!
一經發現,將追究法律責任!
請尊重原創開發勞動成果!
創新的優化體驗設計·創造更大商業價值
這是給成都中鐵五局開發的材料管理系統,客戶本身現在有有一套管理系統在用,但是無法滿足個性化的一些使用需求,找到我們是想解決個性化使用需求,經過技術驗證測試,原有的屬于加密的軟件而且不提供開源,所有最后決定開發一套基于BS架構的材料管理系統。
這套系統邏輯還是很復雜的,材料自動極端比重、分銷、單價、成分、凈值、閾值等。到達設定的參數,自動觸發不動的動作。材料盤點、根據設設定的規則自動進行攤銷、不同批次的材料攤銷值都不一樣、不同批次的材料進、銷、存的管理和材料在不同倉庫之間的調用等。邏輯上算是很復雜的了。
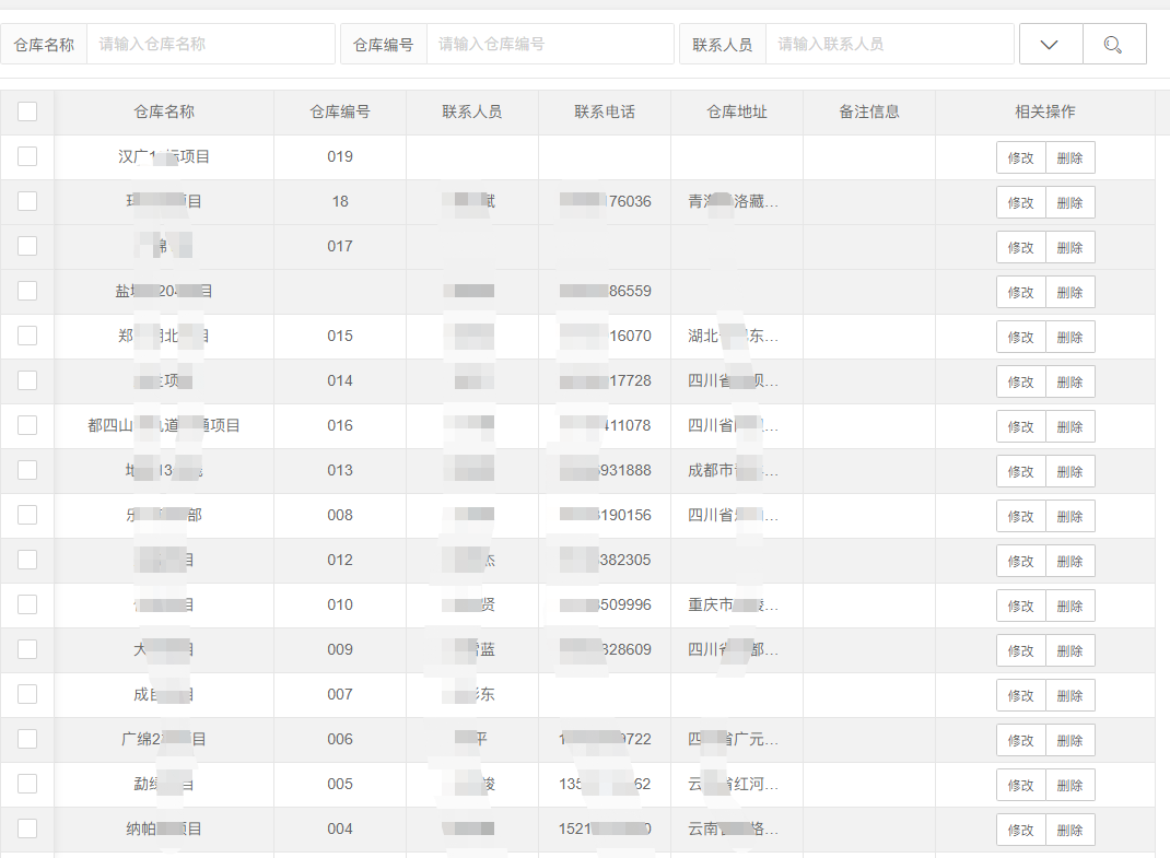
倉庫管理:后臺可以自己創建倉庫,錄入倉庫的編號、聯系人員、聯系短話、倉庫地址、對倉庫的修改、刪除操作。支持對多倉庫的查詢和篩選操作。

供應商管理:因為材料分為很多種類,一個種類的材料對應多個供應商,所有這里對供應商進行了編號,一個供應商可以對應多個材料,一個材料也可以對應多個供應商。都是屬于多對多的關系。

購貨核銷單管理:可以按照編號、供應商和核銷狀態進行查詢,列表顯示已核銷訂單的詳細信息,編號、供應商、單據金額、實際金額、實付金額等信息。

庫存查詢:可以針對不同材料查詢對應倉庫的庫存信息,顯示材料的詳細信息,比如比重、總量、庫存、所所倉庫、材料分類信息等,支持對庫存進行導出操作。

庫存盤點:庫存盤點分為自動盤點和手動盤點,可以顯示物資名稱、當前庫存、比重、重量、商品批次、成分、單價、凈值、所屬倉庫、商品標號等,可以對盤點的商品信息一鍵導出。

庫存預警:針對某一個商品,可以設置庫存預警信息,當這個商品達到的設定值后,倉庫管理員會自動收到短信提示,方便倉庫管理員實時掌握蔡材料的庫存信息。

商品管理:這里的產品就是材料,可以新增商品、設置商品的屬性、參數等,還可以對材料進行修改和刪除操作。

因為本系統功能還多,就不一一做闡述了,如果你也需要了解材料管理進銷存系統,可以聯系網站客服人員進行詳細溝通!